Bogenarten
Der Bogensport kann in vielen Facetten betrieben werden. Neben den unterschiedlichen Disziplinen kann jeder (angehende) Bogensportler auch zwischen verschiedenen Bogenarten wählen. Wir wollen als Mitglied im Deutschen Bogensportverband 1959 e.V. die aktuell zugelassenen Bogenarten nach DBSV-Wettkampfordnung in groben Zügen vorstellen.

Der Recurvebogen (Olympischer Bogen) ist ein Bogen, der am Ende gegen die Bogenkrümmung gebogene Wurfarme besitzt (Recurve). Die Sehne liegt an den Wurfarmenden an. Die Recurves ermöglichen eine bessere Nutzung der Kraft des Bogens, wobei der Bogen im gesamten Auszug dadurch weich ist.
In der Regel ist der Recurve ein dreiteiliger Bogen (Mittelstück und zwei Wurfarme). Um einen optimalen Schuss abgeben zu können, ist der Bogen mit einer Pfeilauflage, oft auch einer Auszugskontrolle (Klicker), einem Visier und meist auch einem Stabilisatorensystem ausgestattet.
Einzelheiten zur Zulässigkeit und Unzulässigkeit von Materialien beim Recurvebogen können unter WKO Pkt. 2.2 der → DBSV Wettkampfordnung nachgelesen werden.

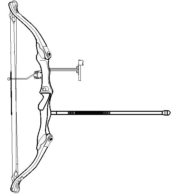
Der Compoundbogen ist ein sehr moderner Bogen. Dieser technisch geprägte Bogen ist in der Lage, eine sehr große Energiemenge umzusetzen. Dies wird durch die angewandte Flaschenzugtechnik möglich. Zu Beginn des Auszuges ist eine hohe Kraft aufzuwenden, die mit zunehmender Auszugslänge immer geringer wird.
Bei maximalem Auszug ist nur noch etwa ein Drittel des Zuggewichts zu halten. Das macht es möglich, hohe Zuggewichte beim Zielvorgang ruhig zu halten und damit präzise zu lösen.
Meist ist am Compoundbogen ein Visier und eine Stabilisation angebracht. Das Visier darf, im Vergleich zum Recurvebogen, auch eine Vergrößerungslinse und eine Wasserwaage haben.

Der Compound-Blankbogen funktioniert technisch wie ein normaler Compoundbogen, darf aber regeltechnisch deutlich weniger Hilfen haben. Zum Beispiel darf der Compound-Blankbogen sprichwörtlich kein Visier haben oder nur einen kurzen Stabilisator von maximal 30cm Länge. Der Bogen darf nicht mit Release, sondern nur mit den Fingern ausgezogen werden.

Der Blankbogen ist im Grunde mit einem Recurvebogen vergleichbar. Der Unterschied zum Olympischen Bogen besteht insbesondere in der Art des Zielens. Gezielt wird hier in der Regel über die Pfeilspitze. Um sich beim Schießen den unterschiedlichen Entfernungen anzugleichen, bestehen zwei Möglichkeiten des Zielens.
Zum einen das Stringwalking. Das Stringwalking ist das unterschiedliche Abgreifen an der Sehne unterhalb des Nockpunktes. Je tiefer gegriffen wird, umso kürzer wird der Schuss. Facewalking hingegen ist das Versetzen des Ankerpunktes im Gesicht, welches sich je nach Distanz ändert.
Im Unterschied zum Recurvebogen darf nur ein kleines Zusatzgewicht am Bogen angebracht sein; der Bogen muss samt Zusatzgewicht durch einen Messring mit einem Innendurchmesser von 12,2cm passen.
Einzelheiten zur Zulässigkeit und Unzulässigkeit von Materialien beim Blankbogen können unter WKO Pkt. 2.2 der → DBSV Wettkampfordnung nachgelesen werden.

Der Jagdbogen ist mit einem Recurvebogen vergleichbar. Der Unterschied zum Blankbogen ist, dass er keine verstellbare Pfeilauflage, keinen Button und keine Zusatzgewichte haben darf und beim Schießen mindestens ein Finger die Pfeilnocke berühren muss (Ausschluss von Stringwalking, da hier auch der Untergriff erlaubt ist).
Der Jagdbogen wird gern „instinktiv“ geschossen. Das heißt, „gezielt“ wird indem der Schütze sich auf das Ziel konzentriert und im Unterbewusstsein speichert das „Muskelgedächtnis“ bei der entsprechenden Entfernung die Position des Bogenarms. Sobald der „Zielvorgang“ eingeleitet wird geht der Bogenarm in die richtige Position.
Manche Jagdbogenschützen schießen aber auch systematisch und „zielen“ auf ihre Art und Weise.

Der Langbogen ist der klassische Bogen im allgemeinen Sinne. Er ist ein maximal zweiteiliger Bogen, dessen Enden mittels einer Sehne verbunden sind. Die Sehne darf nicht an den Bogenenden anliegen.
Die Eigenschaften der oftmals gezielt ausgewählten Hölzer verleihen dem Bogen eine hohe Schusskraft und Präzision. Das Langbogenschießen ist nach DBSV-Wettkampfordnung über die Jahre ein hochpräziser Sport geworden, was insbesondere an den inzwischen zulässigen Pfeilmaterialien liegt (z.B. Carbon).
Der Primitivbogen ist mit dem Langbogen vergleichbar, verfügt jedoch über kein Schussfenster. Das bedeutet, dass der Pfeil den Bogen nicht mittig verlässt, sondern etwas versetzt zur Mitte geschossen wird. Diese Abweichung muss beim Schuss berücksichtigt werden, um den Pfeil erfolgreich im Ziel zu platzieren.
Geschossen wird hier ausschließlich über den Handrücken, der durch einen Handschuh oder Ähnliches geschützt wird. In der Primitivbogenklasse dürfen nur Pfeile aus Naturmaterialien (z.B. Holz oder Bambus mit Naturfedern) geschossen werden.
